dysontrap

​Dyson wil een traplopende robot maken

Technologie06 sep 2021, 15:00doorLaura Jenny
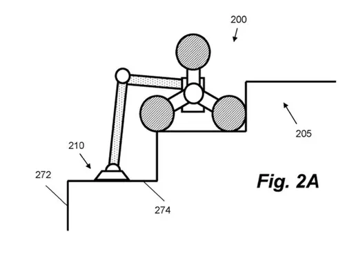
Traplopen en robots gaan meestal niet goed samen. Heb je bijvoorbeeld wel eens een robotstofzuiger gezien die meteen de treden even meeneemt? Het klinkt als een verre droom, maar die komt dichterbij: Dyson heeft er een patent op vastgelegd.

Traplopende robot

Of de Dyson-droom binnenkort echt wordt uitgebreid met een robot die kan traplopen, dat moeten we nog maar zien. Vaak worden patenten vooral vastgelegd om te zorgen dat niemand anders ermee aan de haal gaat. Ook kan het nog vele jaren duren voordat Dyson er zelf iets mee gaat doen, als het dat überhaupt van plan is.
Het Britse Dyson maakt inmiddels niet alleen stofzuigers, maar ook föhns en apparaten om de lucht te zuiveren. Toch blijft het vooral innoveren op stofzuigers. Zo introduceerde het laatst al een stofzuiger die in staat is om met groen licht fijnstof te meten. Het kan zijn dat hun nieuwe innovatie de traplopende stofzuiger is, al zitten daar wel wat haken en ogen aan. Letterlijk: deze stofzuiger heeft een soort poten om mee te lopen en wordt voorzien van camera’s om te begrijpen welke stap hij moet zetten, zo lijkt het.
dysonstofzuiger
dysonstofzuiger

Een Dyson robothand

Dyson noemt het zelf een “robotisch apparaat met drietakt wielen en een activeerbare arm” die niet alleen kan traplopen, maar ook een laatje kan opentrekken. Dat laatste is een wat vreemde mogelijkheid: waarom zou je willen stofzuigen in laatjes? Meestal liggen die vol met troepjes of kleren, waardoor je er wel twee keer over nadenkt voor je daar stofzuigt. Er is echter nog een patent geregistreerd, namelijk die voor een robothand. Dat wordt al een stuk logischer: als de robothand iets uit een laatje kan pakken voor je, dan hoef je bijvoorbeeld als je slecht ter been bent niet helemaal naar boven te lopen om iets te pakken.
Het klinkt allemaal spectaculair en het liefst zien we dit soort producten morgen al geïntroduceerd worden. Echter is die kans waarschijnlijk klein. Hoe dan ook is het goed om te zien dat Dyson wil blijven uitvinden en innoveren, want dat zit ook wel echt in het DNA van het Britse bedrijf ingebakken. Juist nu alles in ons huis slimmer wordt gemaakt, is het verstandig dat het daarop mee wil liften. Dyson heeft er overigens zelf nog geen aankondigingen over gedaan of reacties op gegeven.
Deel dit bericht

Loading