apple vraagt patent aan op rondvormige i

Apple vraagt patent aan op rondvormige iPhone

Technologie31 mrt 2013, 21:15doorRedactie Dutchcowboys
apple-vraagt-patent-aan-op-rondvormige-i.jpg
apple-vraagt-patent-aan-op-rondvormige-i.jpg
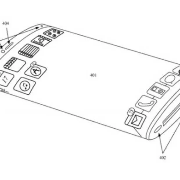
Volgens Huffington Post zou Apple al twee jaar bezig zijn met het aanvragen van een patent voor een iPhone die een gebogen scherm heeft, waardoor het zichtbare gedeelte op het scherm groter wordt. Het patent onthult dat Apple op zoek is naar een apparaat dat voordeel haalt uit de nieuwe generatie schermen, die niet plat hoeven te zijn en de meest rare vormen kunnen hebben. Samsung liet eerder al weten dat ze bezig zijn met het ontwikkelen van buigbare schermen.
Het aangevraagde patent van Apple laat een telefoon zien die veel overeenkomsten heeft met een tube van glas. Binnen in deze tube bevindt zich een scherm dat voor de chips en de andere onderdelen is geplaatst. Het belangrijkste van het ontwerp is dat er geen frame of omhulsel aanwezig is om het scherm te omsluiten, wat betekent dat het toestel meer ruimte heeft om bediend te worden.
Het bedrijf vroeg het patent aan in september 2011, maar de aanvraag werd afgelopen donderdag pas bekend. Het betekent overigens niet dat Apple daadwerkelijk deze telefoon zal gaan ontwikkelen, aangezien zij net als veel andere bedrijven verschillende patenten aanvragen maar er vervolgens niks mee doen. Dit voornamelijk om de concurrentie voor te zijn met hun ideeën.
Deel dit bericht

Loading