applewatch header 1

Patent voor camera in achterzijde Apple Watch

Mobile14 feb 2023, 9:45doorRon Smeets
Toen smartwatches nog relatief nieuw waren, besloot Samsung haar eerste model direct uit te rusten met een camera. Niet zozeer voor het maken van foto’s, als wel voor videobellen. Uiteindelijk werd de smartwatch camera geen echt succes. Toch doken enkele maanden geleden geruchten op dat Apple mogelijk zou werken aan een smartwatch met een ‘externe’ camera. Die geruchten waren we alweer bijna vergeten. Tot nu dus.

Patent voor Apple Watch met camera

Dat wil zeggen, Apple heeft nu een patent gekregen voor een camera op de achterzijde van haar slimme horloge, de Apple Watch. Dat lijkt geen slimme plek, maar daar heeft de gadgetfabrikant een oplossing voor bedacht.
Overigens is het nog lang niet zeker dat Apple ook daadwerkelijk een Watch met camera gaat maken. Niet alle toegewezen patenten leiden immers ook tot producten die in de schappen eindigen. Nog los van het feit of een smartwatch met een camera het nu, tien jaar na de eerste pogingen dat tot een succes te maken, wel een succes zou worden.
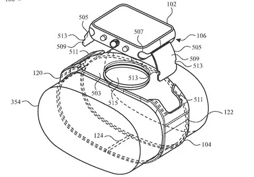
Apple bedacht een `kliksysteem` voor de Apple Watch met camera. Afbeelding: <a href=\
Apple bedacht een `kliksysteem` voor de Apple Watch met camera. Afbeelding: <a href=\

Een smartwatch camera die de pols fotografeert?

Hoe dan ook, Apple heeft, kijkend naar het patent, een andere weg gekozen dan Samsung en de geruchten van vorig jaar. Maar wacht even… een camera in de achterzijde van de Apple Watch? Is dat wel een goed idee? De lens ‘kijkt’ dan immers naar je pols. Wat zou betekenen dat je de Apple Watch af moet doen om de camera te kunnen gebruiken.
Apple heeft daar echter een oplossing voor gevonden. Zo op het eerste gezicht is dat overigens niet echt een briljante oplossing. Het Watch deel van het slimme horloge kan eenvoudig losgemaakt worden van het polsbandje. Daarvoor heeft Apple een, wat lijkt, ietwat ingenieus bevestigingssysteem bedacht. Nadat je de foto gemaakt hebt klik je de Watch weer eenvoudig terug in zijn bandje.
Deel dit bericht

Loading