samsung slimme contactlenzen

Samsung legt patent op slimme contactlens

Technologie07 apr 2016, 18:00doorBrett Rijsdijk
De wereld van de wearables wordt alsmaar groter. Zo is ook Samsung continu bezig om nieuwe technologieën te ontwikkelen. Uit recente publicaties blijkt dat Samsung patent heeft aangevraagd op de slimme contactlens.

Patentaanvraag

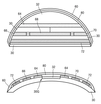
Het patent is in Zuid Korea aangevraagd en laat een contactlens zien met een klein display, een camera, een antenne en verschillende sensoren die bewegingen kunnen detecteren. Het enige dat je hoeft te doen is te knipperen met je ogen. Het ingebouwde display projecteert vervolgens de beelden direct naar de ogen van de gebruiker. De lens kan de binnenkomende data naar een extern apparaat verzenden, zoals je mobiele telefoon.
samsung-smart-contact-lens
samsung-smart-contact-lens

Slimme brillen

De hoofdreden voor het ontwerp van deze contactlenzen is te wijten aan de slechte kwaliteit van de beelden van slimme brillen. Hier valt namelijk nog veel te winnen! In vergelijking met slimme brillen kunnen de smart contactlenzen voor een veel natuurlijkere augmentend reality zorgen, omdat het direct in contact staat met de ogen van de gebruiker.
Smart contact lens
Smart contact lens

Google

Samsung is overigens niet het eerste bedrijf dat bezig is met de ontwikkeling van slimme contactlenzen. Google heeft namelijk ook twee patenten in handen. Deze patenten gaan over flexibele elektronica en sensoren die via de oog bijvoorbeeld bloedsuikerwaarden van gebruikers kunnen meten.

Lopen we straks met slimme contactlenzen?

Of deze slimme contactlenzen binnenkort de commerciële markt zullen bereiken is nog maar de vraag. Op dit moment ziet het er naar uit dat Samsung alleen nog maar werkt aan concepten in plaats van dat zij het daadwerkelijk produceren voor de markt. Ik ben in ieder geval benieuwd hoe deze ontwikkelingen in de toekomst gaan verlopen.
Zou jij slimme contactlenzen willen dragen?
Fotocredits: Fotolia / Lukas Gojda/ samdisc
Deel dit bericht

Loading