macbook apple patent beeld

Nieuw Apple patent ontdekt

Technologie11 apr 2016, 17:00doorBrett Rijsdijk
Er is een nieuw patent van Apple ontdekt dat zomaar het einde zou kunnen betekenen van het fysieke toetsenbord. Het patent is vorig jaar al door Apple ingediend, maar werd onlangs pas naar buiten gebracht.

Zero Travel

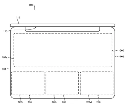
In het patent, genaamd ‘Zero Travel’, staat dat het bestaande keyboard vervangen wordt door één groot oppervlak: een soort gevoelige touchpad. Het patent doet een beetje denken aan een touchscreen zoals op onze smartphones, maar het is niet helemaal vergelijkbaar. Het toetsenbord bestaat namelijk uit een glad oppervlak met sensors die de drukgevoeligheid kunnen waarnemen. Door de ingebouwde technologie lijkt het alsof je daadwerkelijk toetsen indrukt.
De haptische feedback laat weten wanneer je iets hebt aangeraakt. Deze techniek maakt het mogelijk dat er geen losse toetsen meer nodig zijn. Hierdoor kunnen de MacBooks nog dunner gemaakt worden. Een ander voordeel is dat de laptop een stuk hygiënischer zal worden.
Apple macbook patent
Apple macbook patent

Groot voordeel

Het grootste voordeel van Zero Travel is misschien wel het gebruikersgemak. Zo staat in het patent aangegeven dat gebruikers zelf het toetsenbord kunnen indelen en bepalen. Voor één laptop zou je zo verschillende toetsenborden kunnen creëren, bijvoorbeeld een voor Word, een voor de games die je speelt of een voor het surfen op het web. Gebruik je bepaalde toetsen of snelcodes veel? Ook deze zijn vooraf in te stellen.

Duizenden Apple patenten

Of dit patent ook daadwerkelijk uitgevoerd gaat worden is nog maar de vraag. Apple vraagt jaarlijks duizenden patenten aan en velen van hen worden vaak niet eens uitgevoerd.
Wat zou jij ervan vinden als je geen toetsenbord meer zou hebben voor je MacBook?
Macbook Apple patent
Macbook Apple patent
Deel dit bericht

Loading