iphonepatent h

Apple krijgt patent voor VR-headset

Technologie01 sep 2016, 14:15doorPatrick Smeets
VR is Big Business. Naast HTC en Valve met de Vive, Facebook, Oculus en Samsung met de Rift en Gear, Sony's PSVR en Google's Daydream was Apple eingenlijk nog de enige partij van formaat die nog niet met Virtual Reality bezig was. Nu blijkt uit een patent dat Apple toegewezen heeft gekregen dat er op het gebied van VR ondanks de stilte toch het een en ander gebeurt in Cupertino.
De aparte lenzen in de bril zorgen dat VR-content goed weergegeven wordt.
De aparte lenzen in de bril zorgen dat VR-content goed weergegeven wordt.
Voor dat we al te enthousiast worden: een patent eindigt vaak als niet veel meer dan dat, zeker bij een bedrijf van Apple's formaat. Voor de zekerheid wordt alles bij het U.S. Patent Office gedropt, want het zou maar een keer van pas komen in de toekomst. Dat gezegd hebbende is het wel een goede indicatie dat Apple bezig is met de technologie en dat we misschien tegen volgend jaar een aankondiging krijgen van een nieuw product. Althans, het zou een mooie 'one more thing' zijn als ze op 7 september al iets laten zien.

Het patent

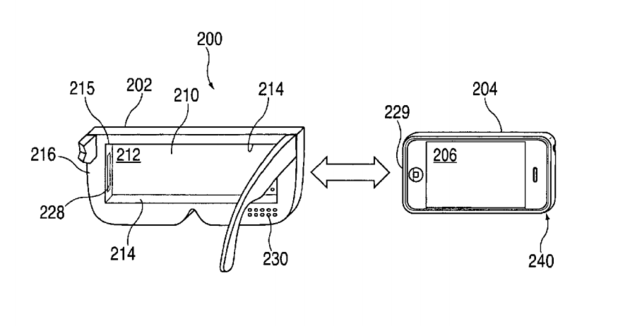
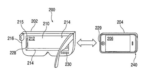
Op het eerste oog lijkt dit trouwens nogal op de Gear VR en misschien ook wel op dingen zoals Google Cardboard. Nu is het primaire verschil (en de reden dat Apple het patent heeft gekregen) het koppelen van de smartphone met het apparaat via een lightning connector, iets dat bijvoorbeeld Cardboard niet doet.
Het patent laat zien dat het de bedoeling is om een iPhone in het apparaat te schuiven.
Het patent laat zien dat het de bedoeling is om een iPhone in het apparaat te schuiven.
De bril zou dus ook aparte lenzen krijgen om de VR-content die vanuit de iPhone-display komt goed te laten zien. Ook zit er in het patent een aparte koptelefoon verwerkt en wordt er in een illustratie een soort van afstandsbediening gebruikt die wel iets wegheeft van een Apple TV-remote, of een iPod Classic. Het patent heeft het verder nog over het versterken van de functionaliteit van de bril en de telefoon onderling, wat zou betekenen dat de bril zijn eigen processor krijgt.
Een interessante ontwikkeling, maar uiteindelijk moet maar blijken in hoeverre Apple zich in het VR-geweld gaat storten met de andere giganten. Een patent maakt dat nog geen realiteit, hoe verfrissend een vrPhone ook zou zijn ten opzichte van die eindeloze 'i'.
Deel dit bericht

Loading