06.08.2014
Technologie

8 ‘vreemde’ projecten waar Google aan werkt

By: Redactie Dutchcowboys

BlogTechnologie

Google heeft geen introductie nodig. Sinds de oprichting heeft Google zich snel ontwikkeld en vandaag de dag kunnen we ons een leven zonder Google niet voorstellen. Naast dat Google regelmatig startups overneemt, lopen er ook veel verschillende projecten. Een aantal van deze projecten klinken wellicht een beetje vaag, maar Google draagt een toekomstvisie waardoor deze projecten vaak in de loop van de jaren beter passen bij de tijd. In dit artikel hebben we 8 van deze vreemde projecten op een rijtje gezet.

8. Interactive Learning Centers

Het klinkt heel mooi, maar als je de uitwerking ziet lijkt het haast alsof er iets niet klopt. Google bouwt grote constructies in San Francisco Bay en omschrijft deze als ‘Interactive Learning Centers’. Wat er zich precies binnen afspeelt is tot op heden onbekend. 

interactive learning center google
interactive learning center google

7. Elektronische huid tatoeage

Motorola dat eigendom is van Google toont veel interesse in de elektronische huid tatoeage. Deze tatoeage legt verbinding via een mobiel communicatie apparaat en geeft informatie over het lichaam door aan de gebruiker. 

tattoo
tattoo

6. Het Gaze Tracking System

Google heeft geïnvesteerd in de Gaze techniek waarmee adverteerders kunnen zien hoe lang er naar bepaalde advertenties gekeken wordt. Op deze manier kunnen adverteerders bepaalde advertenties testen en vervolgens verder uitzetten.

Gaze
Gaze

5. Het kopen van windenergie

Google heeft 114 Megawatt aan windenergie gekocht in Iowa. Hoewel dit redelijk normaal klinkt is dit het niet, omdat Google in dit gebied geen datacenters heeft waar de windenergie gebruikt kan worden. 

Windenergie
Windenergie

4. ‘The Robot You’

Google heeft geïnvesteerd in een systeem dat automatisch persoonlijke reacties plaatst op basis van de gedachten van de gebruiker. In principe komt dit neer op het feit dat gebruikers een robot krijgen die zelfstanding vanuit een bepaalde gebruiker diverse reacties afhandelt binnen sociale netwerken.

3. Patent op het ‘hart gebaar’

Google heeft het patent verkregen voor het handgebaar van een hart, ze gaan dit mogelijk gebruiken in combinatie met Google Glass. 

“Making a heart shape with your hands in front of an object would trigger Glass to identify the content and post it to a social network of your choice with an indication that you ‘like’ the image.”

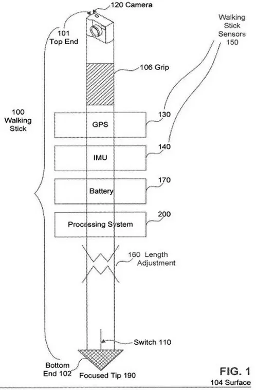
2. Een wandelstok met een camera

Google is bezig met de ontwikkeling van een wandelstok met een ingebouwde camera. Het doel hiervan is nog onbekend waardoor het aankomt op onze eigen fantasie.

Wandelstok Google
Wandelstok Google

1. Het Lunar X project

Het Lunar X project is een van de meest mysterieuze projecten van Google. Google loont 30 miljoen dollar uit aan degene die een robot naar de maan kan sturen en vervolgens hiermee 500 meter kan afleggen. Terwijl de robot op de maan is moet deze in staat zijn om video- en fotomateriaal op te nemen en terug te sturen naar de aarde. Wat het doel van Google is met dit project is tot nu toe onbekend. 

[Afbeelding © Fotolia]

Share this post