10.07.2014
Technologie

Apple patent voor geheel glazen iOS-apparaten

By: Redactie Dutchcowboys

BlogTechnologie

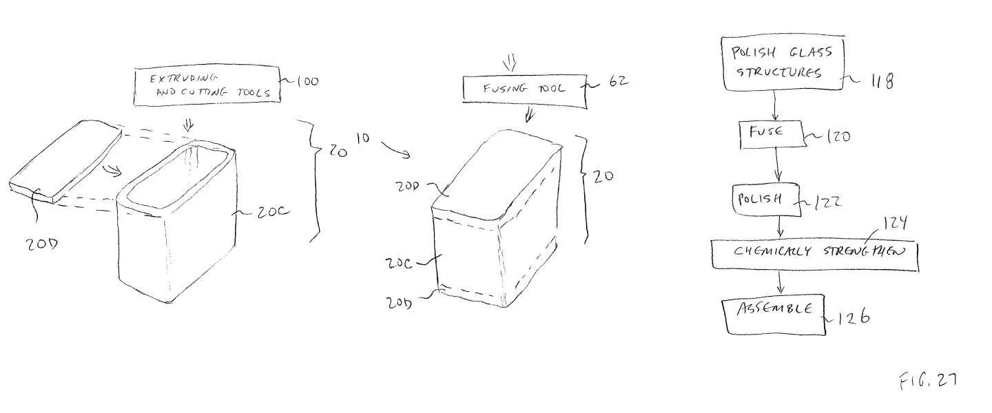
Apple heeft een patent aangevraagd om in de toekomst apparaten te maken met een geheel glazen omhulsel. Door verschillende stukken uiteindelijk samen te voegen als behulzing ontstaat er een device waarvan de omhulzing voor 100% kan bestaan uit glas.

De binnenkant dient uiteraard als ruimte voor de hardware. Bij het smeltproces worden de losse onderdelen van glas aan elkaar gekoppeld waardoor er uiteindelijk een sterk glazen omhulsel ontstaat. In de patentaanvraag heeft Apple het over smartphones, handheld computers en draagbare muziekspelers. Maar dat kunnen ook monitoren en TV-schermen worden.

apple glass
In onderstaande afbeelding is te zien hoe Apple de glazen omhulzing op zijn plaats zet. Hierbij gaat het bijvoorbeeld om een TV of de monitor van een computer. Het achterste glaspaneel tegenover het display wordt voorzien van ondoorzichtig glas zodat de interne componenten onzichtbaar worden.

apple glass11

Nu bekend is dat Apple zijn smartphones in de toekomst wellicht zal uitrusten met een glazen omhulzing, rijzen er vragen over de breekbaarheid en krassen. Hier heeft Apple een oplossing voor. In onderstaande video is de krasbestendigheid van het nieuwe Sapphire glas voor de iPhone 6 getest. Dit glas is net zo dun als papier, maar kan tegen krassen van messen en sleutels.

Share this post