04.07.2014
Technologie

Microsoft en Wearables: geen smartwatch maar een fitness band

By: Redactie Dutchcowboys

BlogTechnologie

Wearables. Iedereen is er mee bezig zo lijkt het. Samsung maakte als eerste de sprong, Google richt zijn pijlen met Android Wear momenteel op de software, maar ook Apple, Nokia, LG, TomTom en vele anderen zijn bezig met de ontwikkeling van wearable devices als de Nike Fuelband, de Fitbit en de Garmin Vivofit.

Maar waar blijft Microsoft in dit rijtje? Eerder al werd bekend dat Microsoft dit jaar nog met een eigen Smartwatch op de markt zou komen. Die niet alleen met Windows Phone werkt, maar ook compatibel zou zijn met zowel Android als Apple smartphones. 

Maar nieuwe bronnen laten weten Microsoft dit najaar met een Samsung Gear Fit-achtige fitness band komt die smartphone meldingen gewoon zal weergeven, net als de huidige en aankomende horloges en andere wearables. Het wordt dus een bandje, geen horloge. Dat verder wel een hele grote plus voor heeft op de concurrentie, en dat is dat het over compatible mee zal zijn. Samsung wearables werken alleen met Samsung telefoons, Android Wear devices werken alleen met Android telefoons, en Apple’s iWatch zal uiteraard alleen werken met de iPhone. 

microsoft-en-wearables-geen-smartwatch-m.jpg
microsoft-en-wearables-geen-smartwatch-m.jpg

De focus ligt alleen wel op de Samsung Gear en soortgelijke fitness bands: Meerdere sensoren, voor het volgen van jouw fitness—actieivteiten, aantal stappen, verbrandde caloriën, hartslag, enz.

Aankondiging volgt zeer waarschijnlijk in Q4 van 2014. En het device wordt uitgebracht onder het Nokia/Lumia of Surface label, daarover is nog niks bekend.

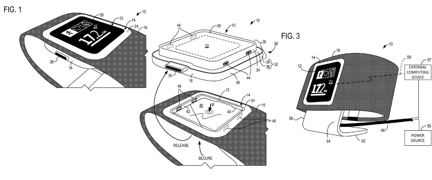
Bekijk hier ook de patent aanvraag van Microsoft voor een Wearable Personal Information System.

Share this post