macbook toetsenbord patent 1

Apple patenteert anti-kruimel toetsenbord voor Macbooks

Nieuws12 mrt 2018, 16:45doorPatrick Smeets
Leuk hoor, die super platte toetsenborden die alle Macbooks inmiddels hebben, maar je hoeft maar één keer te kruimelen boven zo'n toetsenbord en dan is er een hele goede kans dat je problemen gaat krijgen met bepaalde toetsen die niet meer goed reageren. Het door Apple bedachte vlindermechanisme is toch niet zo robuust als de 'oude' (alles tot en met 2015) Macbook-toetsen die gewoon via het door iedereen gebruikte schaarmechanisme, dus er zijn mensen die nog steeds zweren bij de oude toetsenborden.
Apple heeft zich blijkbaar ook gerealiseerd dat het zwakke punt van de toetsenborden een upgrade kan gebruiken. Daarom hebben ze vermoedelijk patent aangevraagd op dit nieuwe idee dat moet voorkomen dat er iets tussen de toetsen komt en het makkelijker op te lossen maakt als dat toch zou gebeuren.
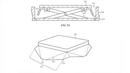
Het membraan uit de patent-aanvraag.
Het membraan uit de patent-aanvraag.
Er zijn twee manieren waarop kruimels verslagen kunnen worden. De eerste is simpel: het verzegelen van de gaten die rondom en onder de toetsen zitten, zodat er gewoon niks meer in kan. Dat is effectief, maar áls het dan toch een keer misgaat kun je geen kant op. Interessanter is het systeem dat een soort membraan onder elke toets zet dat elke keer dat een toets wordt ingedrukt lucht verplaatst, zodat de toets wordt 'schoongemaakt'.
Welke van de (vele) mogelijkheden die in het patent beschreven staan het gaat worden weet alleen Apple. Hoewel het "ingress prevention for keyboards" patent nu publiek is gemaakt dateert het al van 2016, dus wie weet? De nieuwe Macbook Air-vervanger die volgens de geruchten deze zomer wordt aangekondigd zou zomaar al een van deze vorm van toetsenbordbeveiliging kunnen hebben. Voor hetzelfde geld gebeurt er helemaal niets met deze technologie en vindt Apple een andere manier om toetsenborden te beschermen tegen onze zooi.
[Afbeeldingen © Apple]
Deel dit bericht

Loading