14 1440

Nooit meer vergeten waar je auto geparkeerd staat met deze nieuwe Apple app

Mobile12 okt 2014, 21:00doorRedactie Dutchcowboys
Het probleem van 'waar heb ik m'n auto gelaten' hoeven we hier niet meer uit te leggen. Wie geen oriëntatiegevoel heeft, altijd verdwaalt en niet om zich heen kijkt, kan zomaar een probleem hebben bij het parkeren van z'n auto. Er zijn gelukkig genoeg apps waarmee je dit kunt oplossen tenzij je ook geen held bent in het kaartlezen op je mobieltje. Dan heb je dus echt een probleem.
Voor Apple-gebruikers met bovenstaand probleem is het leven inmiddels ook weer wat overzichtelijker geworden. In navolging van Google heeft Apple nu een oplossing bedacht zodat je in alle gevallen je auto weer snel een eenvoudig kunt terug vinden.
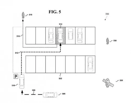
Het beste van de app is dat deze geen internetverbinding nodig heeft. Zo kun je ook in een ondergrondse garage makkelijker je auto traceren. Volgens het patent en het Trademark van de app, zal de service geïntegreerd worden met Apple Maps. Door de verbinding tussen het device en de auto is er geen behoefte aan internet.
12
12
Volgens speculaties zal de app niet veel verschillen van de Google variant. Als de gebruiker op het punt staat uit de auto te stappen, kan er een pin worden vastgezet op de kaart om de plaats aan te geven waar de auto is geparkeerd. Zodra de gebruiker zijn auto zoekt, hoeft alleen de app opgestart te worden die daarna voor jou de route terug naar je auto beschrijft.
13
13
Wanneer de app wordt geïntroduceerd is nog niet bekend. Het is een van de vele Apple innovaties die onder het Car Play initiatief vallen. To be continued…
Deel dit bericht

Loading