imac header

Apple werkt mogelijk aan een ‘opvouwbare’ iMac

Gadgets07 sep 2023, 18:00doorRon Smeets
Apple heeft een reputatie als het gaat om het bedenken van radicale ontwerpen voor haar producten. De eerste iMac, eind jaren 90, werd iconische design computer die zelfs in musea te vinden is. En wat de eerste iPhone betekend heeft voor de wereld van de mobiele telefoons behoeft geen verdere uitleg. Een Europees patent dat onlangs is toegekend aan Apple laat een mogelijk nieuw radicaal design voor een toekomstige iMac zien. Een ontwerp met een gebogen scherm, maar niet zoals je zou verwachten. Bovendien zou de iMac, deels, opgevouwen kunnen worden.

Curved iMac met een ‘recht’ scherm

Afbeeldingen uit de patentaanvraag laten namelijk zien dat Apple niet het scherm zelf een curved design wil geven maar feitelijk de hele iMac. De voorzijde zou dan bestaan uit een gebogen glasplaat waar niet alleen het scherm verwerkt is, maar die ook op het bureau rust. Het onderste deel is geen scherm, maar kan bijvoorbeeld gebruikt worden om een toetsenbord of andere accessoires op te plaatsen.
Apple-Curved-Patent
Apple-Curved-Patent

Werkelijkheid of een 'probeersel'?

De gebogen iMac heeft natuurlijk ook een standaard nodig. Daarvoor heeft Apple een steun bedacht die aan de achterkant geplaatst wordt. Die is zo ontworpen dat het schermdeel omhoog en omlaag geschoven kan worden, afhankelijk van de zitpositie (en -hoogte) van de gebruiker. In de steun kunnen ook de aansluitpoorten en wellicht ook een geïntegreerd toetsenbord verwerkt worden. In hoeverre Apple dit iMac design al in ontwikkeling heeft, of dat het gewoon een van de vele patenten is waar Apple mee experimenteert, is niet bekend.
De `standaard` van de gebogen `iMac`
De `standaard` van de gebogen `iMac`
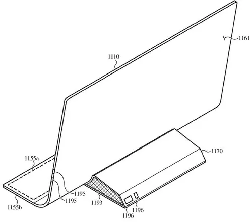
Foldable, maar dan anders.
Foldable, maar dan anders.
Of het een praktisch design is, zal moeten blijken als deze iMac werkelijkheid wordt. Voor de opvouwbare onderkant zie ik zo 1,2,3 geen praktische toepassingen. Behalve dat dit het tansport, en de verpakking, een stuk eenvoudiger maakt.
Deel dit bericht

Loading