afbeelding patent google robot

Google wil patent op robot met persoonlijkheid

Technologie02 apr 2015, 13:15doorDominique Dewitte
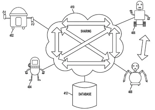
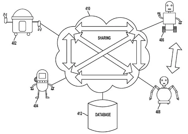
Google heeft bij het United States Patent Office een patentaanvraag ingediend voor het bouwen van robots
met menselijke karaktereigenschappen. Zo weet Mike Murphy, technologie-specialist bij Quartz, te melden.
Het bedrijf
maakt in de aanvraag gebruik van een cloud-systeem waar een persoonlijkheid van een online platform voor een robot zou kunnen worden gedownload, net zoals mobiele applicaties op een smartphone of tablet worden geplaatst.
Murphy voegt er aan toe dat de robot ook verschillende persoonlijkheden en eigenschappen kan herbergen, onder meer om met verschillende menselijke types te kunnen communiceren. Zie het een beetje als een familie computer met verschillende accounts voor ieder gezinslid.
Verder zouden binnen de fundamentele persoonlijkheid ook diverse variaties mogelijk zijn, net zoals ook de mens niet elke dag exact dezelfde karaktereigenschappen laat blijken.
Murphy merkt op dat de ontwikkeling van robots met een persoonlijk karakter nog helemaal in de kinderschoenen staat, maar op termijn kan het volgens hem interessant zijn om aan de machines meer menselijke eigenschappen te geven.
Het is overigens nog helemaal niet zeker dat Google het patent ook daadwerkelijk in een product zal toe gaan passen.
afbeelding-patent-google-robot
afbeelding-patent-google-robot
Deel dit bericht

Loading