26.08.2015
Gaming

Nintendo patenteert schijfloze console

By: Perry Rodenrijs

BlogGaming

Nintendo heeft recentelijk een patent geregistreerd voor een spelcomputer zonder een optische disc drive. En terwijl ik dit aan het typen ben barst het internet al los met geruchten dat dit de nieuwe Nintendo NX zou zijn.

Dat Nintendo werkt aan een nieuwe spelcomputer is op zich niet zo’n hele grote verrassing. Het bedrijf verwerft bestaansrecht met het maken van spelcomputers, dus vroeger of later zat dit er wel aan te komen. In maart dit jaar werd er al voorzichtig iets vermeld over een nieuwe spelcomputer die de codenaam “NX” draagt. Geheel in stijl werd er verder alleen vermeld dat het om een compleet nieuw concept zou gaan. Nintendo heeft wel vaker weten te verrassen, dus geduldig afwachten was voor nu het devies.

Tot nu dan, want op 20 augustus is er een nieuw patent van Nintendo gepubliceerd. Oplettende gamers hebben dit gepost op NeoGAF. En eigenlijk is de geruchtenmolen toen al direct van start gegaan.

144019518371.png

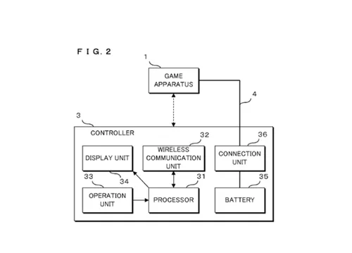
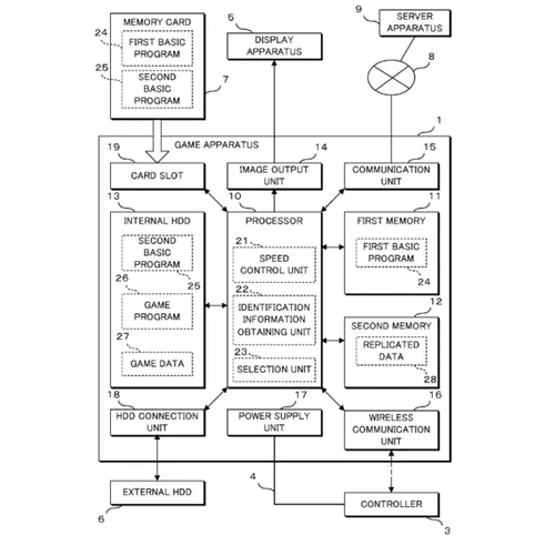
Zou dit zowaar het patent voor de NX kunnen zijn? Het meest opvallende is dat deze spelcomputer geen optische disc drive heeft. Daarentegen wel een harde schijf waar programma’s en/of data opgeslagen op kunnen worden. Daarnaast vermeld het patent dat er ook gebruik gemaakt zal worden van een internetverbinding om deze data de verwerken. Ook wordt er in het patent geschreven over een gamepad met een display unit. Dat Nintendo hier wel raad mee weet zien we terug in de Wii U. Verder wordt er nog iets vermeld over een card slot, en deze techniek kennen we maar al te goed van de Nintendo 3DS.

Anno 2015 niet erg baanbrekend, want er zijn nu zat apparaten op de markt waarmee je geen fysieke media meer nodig hebt om te kunnen gamen. Maar als we dan zo vrij mogen zijn om een beetje mee te speculeren, zou het zomaar kunnen dat Nintendo ook heel hip mee gaat doen met streaming.

Wij zijn de aankondiging van de samenwerking met DeNa immers niet vergeten. Hier werd ook al vermeld dat Nintendo van plan is een soort abonnementsservice op te starten voor de smartphones, 3DS en home consoles. En diensten zoals Netflix en Spotify doen het vandaag de dag best goed. Dus het is zo heel gek om je voor te stellen dat Nintendo hier ook een graantje van zou willen meepikken.

NX patent
NX patent

Het zou natuurlijk allemaal erg gaaf zijn als dit de realiteit wordt. Maar voor nu wilt Nintendo er niet heel veel over kwijt. Wij vermoeden echter dat we niet heel lang hoeven te wachten op meer informatie.

Onze concullega’s van VG247 melden namelijk dat de pilot productie van de NX mogelijk dit jaar in al van start zal gaan in oktober. Massaproductie zal op zijn beurt dan van start gaan in mei of juni 2016. En dat Nintendo zich zou voorbereiden op een juli 2016 release.

Zoals jullie van ons gewend zijn volgen wij de ontwikkelingen nauwkeurig. Houdt ons dus in de gaten voor meer Nintendo NX nieuws.

Share this post